解决方案
高压变频器在灵宝黄金冶炼厂鼓风机上的应用
1引言
灵宝黄金股份有限公司为一家香港主板上市公司(股票代码:3330)。公司成立于2002年9月27日,位于中国第二大产金省河南省的“金城”——灵宝市。公司主要从事黄金(及其伴生元素) 开采、选冶、精炼、深加工与销售,主要产品为金锭,副产品为银、硫酸、电解铜及电解铜箔。公司现有3个分公司、19个子公司。下属灵宝黄金冶炼三分厂硫酸生产设备老化,该公司于2009年6月对该硫酸生产设备进行了改造,其中二氧化硫鼓风机(6KV440KW)改变了原来的阀门调节方式,采用先进的高压变频器调速系统,经过市场和行业内调研,选用山东JN江南体育官方网站电子科技发展有限公司生产的JD-BP37-450F系列高压变频器。
2项目改造
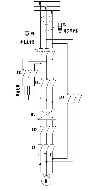
改造中在排风机管道出口安装压力变送器以检测气体压力变化,并将输出信号传输给高压变频器,高压变频器根据压力的变化来控制电机转速,从而自动调节风机流量。当高压变频器调节系统发生故障时,在高压变频器上可以选择人为或者自动旁路到工频运行。主回路改造图如下:

图1 JD-BP37-450F电气改造一次主回路示意图
电动机参数(沈阳电机股份有限公司)

风机参数(湖北风机厂)

3高压变频器原理
3.1系统结构
JD-BP37系列高压变频调速系统的结构见图2,由移相变压器、功率单元和控制器组成。6KV系列有5个功率单元,每15个功率单元串联构成一相。

图2 高压变频器系统结构图
3.2功率单元电路

图3 功率单元主电路图
每个功率单元结构上完全一致,可以互换,其主电路结构如图所示,为基本的交-直-交双向逆变电路,图中通过逆变块IGBT反并联的二极管构成三相全桥方式整流,整流后的给滤波电容充电,确定母线电压, 通过对IGBT逆变桥进行正弦PWM控制实现双向逆变。
功率单元输出波形:

图4 单个功率单元输出波形
3.3输入侧结构
输入侧由移相变压器给每个单元供电,每个功率单元都承受电机电流、1/5的相电压、1/15的输出功率。15个单元在变压器上都有自己独立的三相输入绕组。功率单元之间及变压器二次绕组之间相互绝缘。二次绕组采用延边三角形接法,目的是实现多重化,降低输入电流的谐波成分。
本机中移相变压器的副边绕组分为三组,构成36脉冲整流方式;这种多级移相叠加的整流方式可以大大改善网侧的电流波形,使其负载下的网侧功率因数接近1,输入电流谐波成分低。实测输入电流总谐波成分小于4%。
3.4输出侧结构

图5 5个单元输出波形叠加图
输出侧由每个单元的U、V输出端子相互串接而成星型接法给电机供电,通过对每个单元的PWM波形进行重组,可得到阶梯PWM波形。这种波形正弦度好,dv/dt小,可减少对电缆和电机的绝缘损坏,无须输出滤波器就可以使输出电缆长度很长,电机不需要降额使用,可直接用于旧设备的改造;同时,电机的谐波损耗大大减少,消除了由此引起的机械振动,减小了轴承和叶片的机械应力。图5为变频器输出的线电压阶梯PWM波形。
3.5控制器
控制器核心由高速32位数字信号处理器(DSP)运算来实现,精心设计的算法可以保证电机达到较优的运行性能。人机界面提供友好的全中文WINDOWS监控和操作界面,同时可以实现远程监控和网络化控制。内置PLC控制器用于柜体内开关信号的逻辑处理,以及与现场各种操作信号和状态信号的协调,可以和用户现场灵活接口,满足用户的特殊需要,增强了系统的灵活性。
数字信号处理器(DSP)相对于模拟信号处理有很大的优越性,表现在精度高、灵活性大、可靠性好、易于集成、易于存储等方面。传统的模拟信号处理技术正由全新的数字信号处理技术(DSP)所代替。DSP是面向高速重复性数值运算密集型的实时处理。高性能DSP不仅处理速度快,而且可以无间断的完成数据的实时输入与输出。DSP结构相对单一,普遍采用汇编编程,其处理完成时间的可预测性要比结构和指令复杂、依赖于编译系统的普通微处理器强的多。它可以单周期完成这些乘加并行操作,而普通微处理器需要至少4个指令周期,因此在相同的指令周期和片内指令缓冲条件下,是普通微处理器运算速度的4倍以上。
另外,控制器与功率单元之间采用多通道光纤通讯技术,低压部分和高压部分完全可靠隔离,系统具有极高的安全性,同时具有很好的抗电磁干扰性能,并且各个功率单元的控制电源采用一个独立于高压系统的统一控制器,方便调试、维修、现场培训,增强了系统的可靠性。
3.6 控制电源
控制器有一套独立于高压电源的供电体系,在不加高压的情况下,设备各点的波形与加高压情况基本相似,给整机可靠性、调试、培训带来了很大方便。
系统采用三次谐波补偿技术提高了电源电压利用率,利用了调制信号预畸变技术,使电压利用率近似于1。系统还采用了先进的载波移相技术,它的特点是单元输出的基波相叠加、谐波彼此相抵消。所以串联后的总输出波形失真特别小。
4运行情况
我们调试服务人员于2009年7月17号到达现场,经过三天的安装与调试后,设备一次成功投入运行,根据管道压力变化,高压变频器稳定运行于29Hz—46Hz,运行输入电流10A—32A,运行输出电流17A—36A,变频平均运行电流24A。
5节能计算
按工频和变频运行实际电流计算,计算数据取2009年8月份技术测定
工频运行时,风门开度为2m左右,运行电流在36A。
工频运行时功率和耗电:
P1= 1.732×6×36×0.87=325.47kW
N=325.47×24=7811.28kW•h
变频器运行时,风门全开,平均运行电流在24A,由变频器调节风机速度来满足风量要求。
变频运行时功率和耗电:
P2= 1.732×6×24×0.958=238.93kW
N=238.93×24=5734.32kW•h
节电率:
(7811.28-5734.32)/7811.28=26%
节约电费计算:
以电价0.6元/度为标准,工频24小时耗电费:
7811.28×0.6=4686.77元
变频24小时耗电量
5734.32×0.6=3440.59元
变频改造后,日节约电费:
4686.77-3440.59=1246.18元
一年以300天为标准计算,年节约电费:
1246.18×300=373854元。
6改造总结
根据针对该项目的变频改造经验以及同类其他项目的实践结果,总结出风光高压变频器改造具有以下优点:
(1)安装简单。变频器安装在高压开关柜和电机之间,对原有接线改动不大。
(2)操作简单。直观的中文人机界面,设备具有开机、停机和频率调整等操作。
(3)调速平滑。能够进行无级调速,调速范围宽,并且调速精度高。
(4)节电明显。根据工况要求,变频器一般运行在30Hz左右,实际输入电流不到额定电流的一半,节电率高达26%以上。
(5)噪音降低。由于电机运行于较低转速上,运行噪音大大降低,电机的发热量也有明显下降。
(6)保护完善。变频调速系统具有完善的保护功能,降低了电机运行中的故障率,并且启动平稳,启动电流小,对电网的冲击量小,大大提高了可靠性。
(7)输出谐波小。变频器输出符合IEEE STD 519 1992及中国供电部门对电压失真要求,高于国标GB/T14549-93对谐波失真的要求,不需要采用输出电抗器。
(8)具有星点漂移功能。三相输出采用单元串联结构,在运行中,如果有任意三个单元以内出现故障,变频器本身会自动旁路该单元,同时变频器主控系统具有星点漂移功能,使三相输出线电压保持平衡,不会对电动机造成不利影响。星点漂移功能实现了高压变频器在一个或多个单元发生故障后,使其输出有效电压保持较大的幅值,使得高压变频器的可靠性上了一个台阶,较大限度地保证了变频器连续安全运行。
7结束语
采用高压变频器后电机可实现软启动,电机启动电流大大减小,其数值仅相当于额定电流,从根本上杜绝了启动中电机烧毁事故,电机软启动将启动过程的机械冲击减小到较小,从而延长了传动装置及风机的使用寿命。同时,较小的启动电流对电网也不会产生大的冲击,免除了高压电器开关被大电流击穿的危险。采用高压变频器可实现DCS控制,大大提高了控制精确性和生产安全性。我国冶炼烟气制酸SO2风机使用高压变频器,不仅可以解决困扰企业的风机运行问题,而且可节约大量电费。综合技术经济情况分析,灵宝黄金冶炼三分厂二氧化硫鼓风机采用高压变频器调速是完全可行的。
从现场运行情况来看,山东JN江南体育官方网站电子科技发展有限公司生产的JD-BP37-450F高压变频器性能优越,运行可靠,有效地降低了生产成本,在生产材料成本日益增长的今天,通过有效的节能改造,具有明显的经济效益。